本篇文章给各位网友带来的资讯是:OPPO 智能指环专利获授权,显示屏可拉伸 详情请欣赏下文感谢IT大王网友 詹姆斯、肖战割割 的线索投递!
IT大王 4 月 7 日消息,国家知识产权局信息显示,4 月 5 日,OPPO 广东移动通信有限公司智能指环专利获得授权,授权公告号为 CN216210919U 和 CN216165684U。
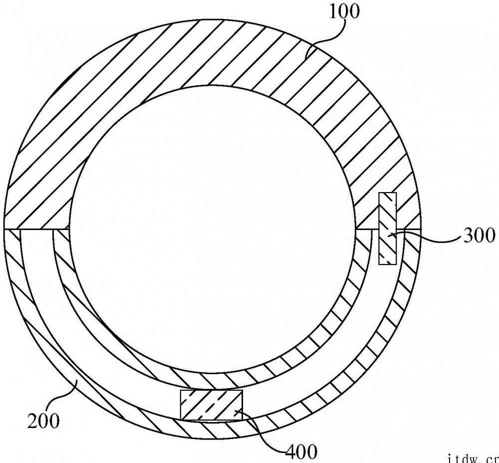
IT大王了解到,智能指环专利(CN216210919U)包括显示屏和壳体。其中,显示屏与壳体连接,且两者共同围设形成有佩戴空间;显示屏还被配置为可发生弹性形变进行拉伸。专利摘要显示,通过上述方式,可以提高智能指环的通用性。


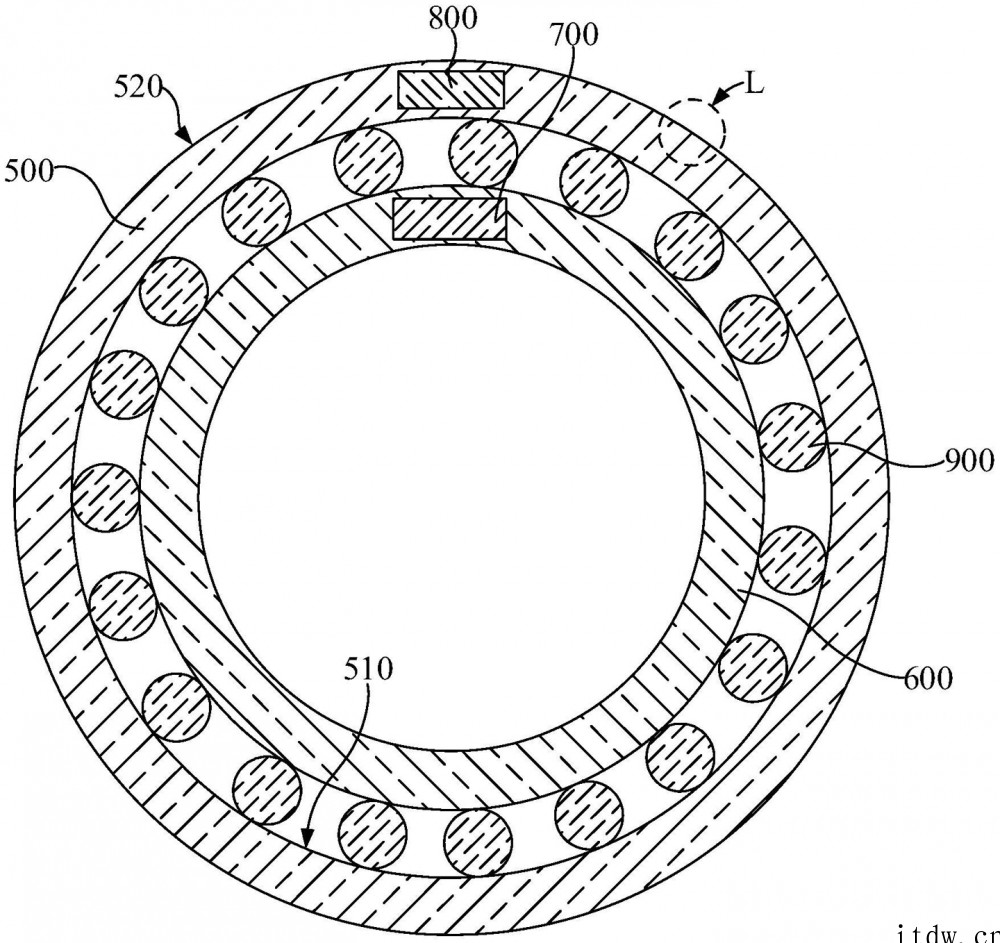
此外,智能指环专利(CN216165684U)包括外环、内环、霍尔传感器以及磁体。
其中,外环围绕内环设置,且外环和内环被配置为可发生相对转动;外环和内环中的一个设置有霍尔传感器,另一个设置有磁体,以使霍尔传感器和磁体可发生相对转动。通过上述方式,用户可以通过旋转外环与智能指环进行人机交互。


© 版权声明
文章版权归作者所有,未经允许请勿转载。
版权声明:
1、IT大王遵守相关法律法规,由于本站资源全部来源于网络程序/投稿,故资源量太大无法一一准确核实资源侵权的真实性;
2、出于传递信息之目的,故IT大王可能会误刊发损害或影响您的合法权益,请您积极与我们联系处理(所有内容不代表本站观点与立场);
3、因时间、精力有限,我们无法一一核实每一条消息的真实性,但我们会在发布之前尽最大努力来核实这些信息;
4、无论出于何种目的要求本站删除内容,您均需要提供根据国家版权局发布的示范格式
《要求删除或断开链接侵权网络内容的通知》:https://itdw.cn/ziliao/sfgs.pdf,
国家知识产权局《要求删除或断开链接侵权网络内容的通知》填写说明: http://www.ncac.gov.cn/chinacopyright/contents/12227/342400.shtml
未按照国家知识产权局格式通知一律不予处理;请按照此通知格式填写发至本站的邮箱 wl6@163.com
1、IT大王遵守相关法律法规,由于本站资源全部来源于网络程序/投稿,故资源量太大无法一一准确核实资源侵权的真实性;
2、出于传递信息之目的,故IT大王可能会误刊发损害或影响您的合法权益,请您积极与我们联系处理(所有内容不代表本站观点与立场);
3、因时间、精力有限,我们无法一一核实每一条消息的真实性,但我们会在发布之前尽最大努力来核实这些信息;
4、无论出于何种目的要求本站删除内容,您均需要提供根据国家版权局发布的示范格式
《要求删除或断开链接侵权网络内容的通知》:https://itdw.cn/ziliao/sfgs.pdf,
国家知识产权局《要求删除或断开链接侵权网络内容的通知》填写说明: http://www.ncac.gov.cn/chinacopyright/contents/12227/342400.shtml
未按照国家知识产权局格式通知一律不予处理;请按照此通知格式填写发至本站的邮箱 wl6@163.com